ETABLIERTEN 1997
ISO9001 BEGLAUBIGT
Tungsten Metall
Tungsten Legierung
Tungsten Metall
Tungsten Schwer Legierung
Tungsten,Tungsten Karbid Pulver
Tungsten Oxid,APT,AMT,VTO,WO3
Tungsten Kitt, Tungsten Plastik
Tungsten Legierung Dart
Tungsten Kupfer Legierung
Tungsten,Tungsten Legierung Wissen
Tungsten Karbid
Cemented Carbide
Tungsten Karbid,Zementiert Karbid
Tungsten Karbid Stäbe
Tungsten Karbid Kugeln
Tungsten Jewelry
Tungsten Karbid Wissen
Tungsten Gold
Ferro Tungsten
Silber Tungsten
Molybdän Legierung
Molybdän Metall
Molybdän Metall
Molybdän Legierung
Titan Zirkonium Molybdän TZM
Molybdän Kupfer(MoCu Legierung)
Molybdän Wissen
NE-Metalle
Silizium Karbid
Sinterbronze Poröse Komponenten
Chinatungsten Subsites
Tungsten Nachrichten
Tungsten Video
Tungsten Information
Tungsten Image
Tungsten Blog
Tungsten Handy Version
Tungsten PAD Version
Molybdän Nachrichten
Sprache Version
中文简体
中文繁體
English
Português
Español
Русский
Français
日本語
ภาษาไทย
More>>
Tungsten Karbid »
Tungsten Karbid Tipps »
Type M10
Type M11
Type M12
Type M13
Type M15
Type M16
Type M17
Type M18
Type M19
Type M20
Type M21
Type M22
Type M23
Type M24
Type M25
Type M26
Type M27
Type M29
---------------
Tungsten Metall Video »
Molybdenum Metall Video »
Seltene Erden Video »
Seltene Erden Metall »
Sputter Targets »
Blank Metal Eisen Chrom Mangan »
Hydrite Battery Materials »
---------------
Chinatungsten Online »
Ihre Position:
Haus Seite
>>
Tungsten Karbid
>>
Tungsten Karbid Tipps
>> Type M24
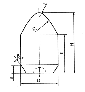
Tungsten Karbid Tipps-Type M24
Type M24
mm
Type
Dimension
Note
D
H
R
γ
h
β
e
M2417
17.0
16.5
26.0
/
15.9
60o
3.9
G87042
M2417A
29.5
1.8
18.9
G08674
Chinatungsten Wechat
Chinatungsten Microblog