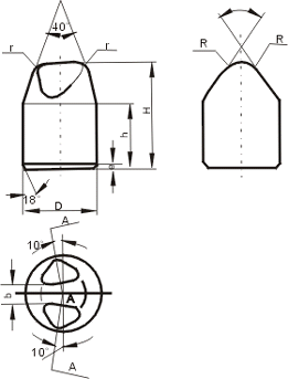
X ТИП |
|
ТИП |
МЕТРИЧЕСКИЕ РАЗМЕРЫ |
D |
H |
h |
R |
r |
e |
α(O) |
β(O) |
X0810 |
8 |
10 |
6.5 |
2.0 |
1.8 |
1.5 |
45 |
22.5 |
X1011 |
10 |
11 |
7 |
2.5 |
2.0 |
45 |
X1013 |
10 |
13 |
9 |
2.5 |
2.0 |
45 |
X1115 |
11 |
15 |
8 |
2.75 |
2.5 |
22.5 |
X1215 |
12 |
15 |
9 |
3.0 |
3.0 |
45 |
X1217 |
12 |
17 |
10.5 |
3.5 |
3.0 |
35 |
20 |
X1418 |
14 |
18 |
10 |
3.5 |
3.0 |
45 |
22.5 |
X1420 |
14 |
20 |
11 |
2.7 |
3.0 |
35 |
X1520 |
15 |
20 |
12 |
3.0 |
3.0 |
40 |
X1621 |
16 |
21 |
11 |
2.6 |
3.0 |
2.0 |
35 |
X1623 |
16 |
23 |
12 |
3.0 |
3.5 |
30 |
18 |
X1721 |
17 |
21 |
13 |
4.0 |
3.5 |
40 |
22.5 |
X1724 |
17 |
24 |
13 |
3.5 |
3.5 |
30 |
X1929 |
19 |
29 |
17 |
4.0 |
3.0 |
40 |
15 |
|

X ТИП клиновой зуб
|
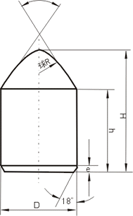
B ТИП |
|
ТИП |
МЕТРИЧЕСКИЕ РАЗМЕРЫ |
D |
H |
h |
R |
r |
e |
α(O) |
b |
B1417 |
14 |
17 |
12 |
3.0 |
2.5 |
1.5 |
90 |
3.0 |
B1418 |
14 |
18 |
12 |
3.0 |
2.5 |
1.5 |
80 |
4.0 |
B1419 |
14 |
19 |
12 |
3.0 |
2.5 |
1.5 |
75 |
4.0 |
B1621 |
16 |
21 |
14 |
3.0 |
2.5 |
2.0 |
70 |
4.5 |
B1924 |
19 |
24 |
15 |
3.5 |
3.0 |
2.0 |
70 |
4.5 |
B2230 |
22 |
30 |
17 |
3.5 |
3.0 |
2.0 |
60 |
5.0 |
|

B ТИП клиновой зуб с гранями
|
S ТИП |
|
ТИП |
МЕТРИЧЕСКИЕ РАЗМЕРЫ |
D |
H |
h |
Ra |
Rb |
Rc |
r |
α(O) |
e |
S1421 |
14 |
21 |
12 |
12 |
20 |
2.5 |
2.5 |
18 |
1.5 |
S1623 |
16 |
23 |
12 |
15 |
23 |
2.5 |
2.5 |
18 |
1.5 |
S1626 |
16 |
26 |
14 |
20 |
28 |
2.5 |
2.5 |
18 |
20 |
S1724 |
17 |
24 |
13 |
16 |
25 |
3.0 |
3.0 |
20 |
S1930 |
19 |
30 |
17 |
16 |
25 |
3.0 |
3.0 |
15 |
S2240 |
22 |
40 |
21 |
20 |
30 |
3.0 |
3.0 |
13 |
S2545 |
25 |
45 |
23 |
30 |
35 |
3.5 |
3.5 |
13 |
|

S ТИП(s тип полукруглый зуб)
|
P ТИП |
|
ТИП |
МЕТРИЧЕСКИЕ РАЗМЕРЫ |
D |
H |
h |
P0607 |
6 |
7 |
1.5 |
P0707 |
7 |
7 |
P0807 |
8 |
7 |
P0908 |
9 |
8 |
P1008 |
10 |
8 |
P1109 |
11 |
9 |
P1210 |
12 |
10 |
P1412 |
14 |
12 |
|

P ТИП (зуб с плоской вершиной)
|